Najważniejsze Warunki Dla Bezpiecznego Stosowania Węży
W tym artykule prezentujemy listę zasad, które należy przestrzegać, aby bezpiecznie korzystać z instalacji, które zbudowane są z węży i złączy. Przestrzeganie poniższych zasad wpływa również na trwałość, żywotność produktów. Zgodnie z zasadą im bardziej szanujemy produkt, tym dłużej nam on posłuży.
1. Dobór węża i złączy do instalacji w zależności od substancji przesyłanej oraz warunków pracy
- Cząstki płynów i ciał stałych mogą fizycznie wnikać w materiał węża i powodować reakcje chemiczne
- Fizyczne efekty: mogą powodować zmiany w materiale węża, konsekwentnie zmieniając jego właściwości tzn. twardość, odporność na rozciąganie, wydłużanie itp.
- Chemiczne efekty: powodują zmiany w chemicznej konstrukcji materiału węża, powodując zmiany we właściwościach (np. zmiękczacza lub ochrona przed starzeniem ulegają rozkładowi powodując łuszczenie lub przecieki)
- Szczegółowe informacje na temat zastosowań można znaleźć w „Tabeli wytrzymałości chemicznej”
- Dopuszczalne ciśnienie pracy i podciśnienie nie mogą być przekraczane
- W przypadku materiałów ściernych należy zawsze brać pod uwagę zużycie materiału węża i konieczność kontroli stanu jego zużycia
- Węże z przyłączami w trakcie użytkowania nie mogą być narażone na działanie wysokich, niebezpiecznych ładunków elektrycznych
- Rezystancja węża (mierzona od przyłącza do przyłącza nie może przekraczać 106 Ω
- Węże oznaczone symbolem Ω są wyposażone w materiały wywołujące właściwości przewodzące
- Węże oznaczone M muszą być wyposażone w przewód odprowadzający ładunki, podłączony na stałe do łącznika, tak aby zapewnić przewodność
2. Profesjonalny montaż węży i złączy
- Dobór węży i złączy musi uwzględniać odpowiednie rozmiary i pasować do siebie. Montaż złączy powinien być wykonany przez fachowców z uwzględnieniem obowiązujących przepisów
3. Odpowiednie przechowywanie
- Przechowywany wąż powinien być suchy i czysty.
- Należy unikać wpływu promieniowania UV.
- Węże podczas przechowywania nie mogą być naciągnięte ani pozałamywane.
- Optymalna temperatura przechowywania węży to ok 20° C.
4. Prawidłowa instalacja
- Węże należy instalować tak, aby zapewnić do nich łątwy dostęp. Należy wziąć pod uwagę, że wąż podczas pracy w podciśnieniu zmniejsza swoją długość, a podczas pracy pod ciśnieniem pojawiają się zmiany długości i wymiarów (węże nie wzmocnione spiralą PVC mogą wydłużyć się do 40% ich pierwotnej długości, gdy zostanie zastosowane maksymalne ciśnienie pracy)
- Wąż na swojej długości nie może być zginany poniżej swojego promienia gięcia. Szczegóły na temat promienia gięcia można znaleźć w opisie konkretnego węża. Przybliżone wartości promieni gięcia ujęte są w tabeli.
- Wąż powinien być chroniony przed wpływami zewnętrznymi, mechanicznymi, termicznymi i chemicznymi.
- Jeśli jest to zalecane, należy sprawdzać oporność elektryczną
- Wąż nie może być załamywany w szczególności w okolicach złącza
5. Przestrzeganie procedur
- W celu bezpiecznego użytku węży należy wprowadzić i przestrzegać określonych procedur w zakresie technicznym oraz organizacyjnym.
6. Regularne inspekcje
- Węże powinny być przed użytkiem skontrolowane przez technika. Zalecane są regularne inspekcje (np. węże chemiczne raz na rok, węże do pary minimum raz na pół roku)
Podczas Inspekcji należy wykonać następujące czynności:
- Wizualna inspekcja węża
- Załamania, obicia, deformacje
- Chemiczna porowatość lub mechaniczne uszkodzenia powierzchni zewnętrznej i/lub wewnętrznej
- Uszkodzenia, deformacja lub korozja złączy
- Uszkodzenie, deformacja lub brak uszczelek lub podkładek
- Test ciśnienia, test na szczelność
- Inspekcja przewodności elektrycznej - Testowanie oporności elektrycznej węży typu „Ω” oraz „M”
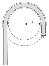
Jaki jest minimalny promień gięcia węży, aby nie doszło do uszkodzenia?
Promień gięcia „R” jest promieniem najmniejszego możliwego koła, do którego wąż podczas użytkowania może być zgięty bez jego uszkodzenia lub skrócenia jego żywotności przez załamania. Tekstylne węże mogą ulec uszkodzeniu, gdy promień gięcia będzie zbyt mały. Spiralny drut chroni wąż przed załamaniami oraz spłaszczeniami w celu zminimalizowania ryzyka jego uszkodzenia.

Węże wzmocnione spiralą (gładkie wewnątrz i na zewnątrz)
- 8 x średnica wewnętrzna do 100 mm średnicy węża
- 10 x średnica zewnętrzna powyżej 100 mm średnicy węża
Węże wzmocnione spiralą (gładkie wewnątrz, faliste na zewnątrz)
- 6 x średnica wewnętrzna do 100mm średnicy węża
- 8 x średnica zewnętrzna powyżej 100mm średnicy węża
Węże produkowane na trzpieniu - 6 x średnica wewnętrzna węża
Jeżeli wąż pracuje pod ciśnieniem należy przyjąć 4/5 powyższych wartości.
Promień gięcia jest również uzależniony od konstrukcji węża oraz materiału jaki został zastosowany.
Informacje dodatkowe pomocne przy wyborze produktów:
JAKOŚĆ
Ponad 7500 rodzajów
węży i złączy
Blisko 25 lat
doświadczenia
95% asortymentu realizujemy
od 24h do 7 dni roboczych
Potrzebują Państwo porady technicznej?
Prosimy o kontakt, pomożemy Państwu fachowym doradztwem:
(+48) 75 615 20 30 biuro@intertech.info.pl
